曹先生經理
ESLM鋼絞線束聯結器,按使用部位不同可分為:錨頭聯結器與接長聯結器。
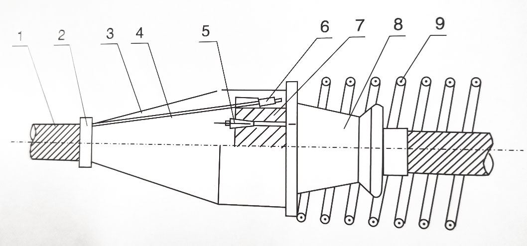
1)、錨頭聯結器:其聯結體是一塊增大的錨板,錨板中部的錐形孔用于錨固前段束,錨板外周邊的槽口用于掛住后段的擠壓頭,設置在構件端部,用于錨固前端并聯結后段束。

▼ 構造圖
1、波紋管 2、緊篩環 3、罩殼 4、預應力筋 5、夾片 6、擠壓錨具 7、連接器 8、喇叭管 9、螺旋筋

▼ 參數表 單位:mm

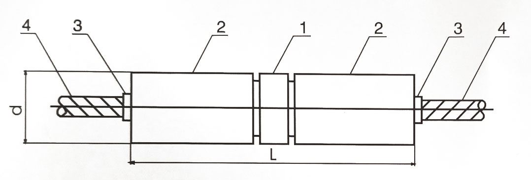
2)、接長聯結器:多設于后張法構件體外,用于張拉力的傳遞,反復使用。設計根據張拉工藝而定,通常的形式有:鋼絞線聯鋼絞
線,精軋螺紋鋼聯鋼絞線等形式。可大量節約預應力鋼材,降低成本。

▼ 構造圖
1、連接軸 2、連接套 3、夾片 4、鋼絞線

1、鏈接軸 2、連接套 3、夾片 4、精軋螺紋鋼 5、鋼絞線

廣漢公司:0838-5103888
成都公司:028-83630396
廣漢公司:452018313@qq.com
成都公司:452018313@qq.com
